Профильная направляющая (рельс) HIWIN MGNR12R_H для систем линейных перемещений имеет следующие характеристики:
MGN – серия миниатюрных направляющих под стандартный тип кареток;
R – взаимозаменяемая направляющая (прецизионное изготовление данной серии позволяет комбинировать каретки и рельсы одного типоразмера независимо от их конструкции, классов точности и предварительного натяга);
12 – типоразмер рельсовой направляющей;
R – тип крепления рельса "сверху";
H – высокий класс точности (допустимое отклонение параллельности составляет не более 28 мкм на 4000 мм).
Описание характеристики рельса, указанной после обозначения:
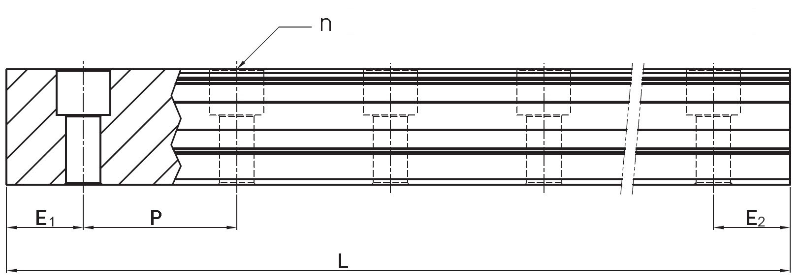
После основного обозначения (маркировки модели) линейной направляющей HIWIN в скобках указана ее размерная характеристика, определяющая длину рельса и расположение крепёжных отверстий относительно концов в соответствии со следующей формулой: L (E1/(n-1)×P/E2), где
- L - общая длина рельса соответствующего класса точности (С, H или Р)
- E1 - расстояние от начала рельса до центра первого крепежного отверстия
- n - количество крепежных отверстий (соответственно, n-1 - это количество шагов между ними)
- P - длина шага (расстояния между центрами отверстий)
- E2 - расстояние от центра последнего крепежного отверстия до конца рельса
Например, характеристика 560H(35/8X60/45) обозначает, что рельс класса точности H имеет длину 560 мм, расстояние от начала до ближайшего отверстия составляет 35 мм, 8 "шагов" (или, соответственно, 9 крепежных отверстий), 60 мм - расстояние между отверстиями, 45 мм - расстояние от центра последнего крепежного отверстия до конца рельса.
Мы осуществляем нарезку рельс по заданным характеристикам с допустимой погрешностью ±1 мм на один отрезок. В случае необходимости более прецизионного распила для последующей стыковки направляющих просим дополнительно уведомлять об этом при заказе, стоимость такой обработки рассчитывается индивидуально.
|
Бренд
|
HIWIN |
|
Серия
|
MG (миниатюрная) |
|
Типоразмер
|
12 |
|
Вариант крепления
|
R (сверху) |
|
Класс точности
|
высокий |
|
Взаимозаменяемость рельса
|
R (да) |
|
Материал
|
нержавеющая сталь |
|
Длина, мм
|
2000 |
|
Высота, мм
|
12 |
|
Ширина, мм
|
8 |
|
Вес, кг
|
1,3 |