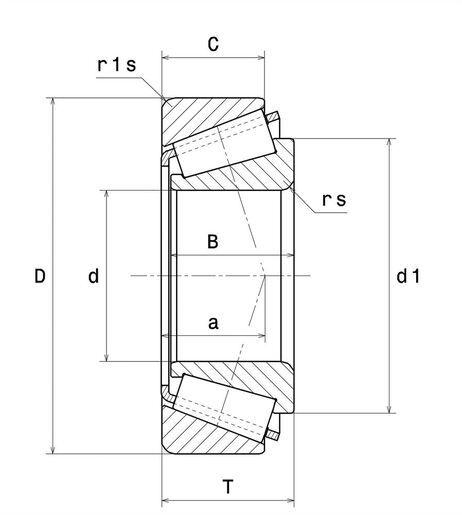
| РАЗМЕРЫ ИЗДЕЛИЯ | |
|---|---|
| d - Внутренний диаметр | 60 mm |
| D - Наружный диаметр | 95 mm |
| B - Ширина подшипника/внутреннего кольца | 23 mm |
| C - Ширина наружного кольца | 17,5 mm |
| T - Общая ширина | 23 mm |
| d1 - Наружный диаметр внутреннего кольца | 78,5 mm |
| а - Точка приложения нагрузки на оси | 21 mm |
| rs - Минимальный радиус галтели | 1,5 mm |
| r1s - Минимальный радиус галтели | 1,5 mm |
| Вес | 0,584 kg |
| Обозначение ISO355 | T4CC060 |

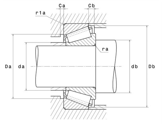
| РАЗМЕРЫ ОКРУЖАЮЩИХ ДЕТАЛЕЙ | |
|---|---|
| da max - Максимальный диаметр буртика вала | 67 mm |
| db min - Минимальный диаметр буртика вала | 68,5 mm |
| Da min - Минимальный диаметр буртика корпуса | 85 mm |
| Da max - Максимальный диаметр буртика корпуса | 86,5 mm |
| Db min - Минимальный диаметр буртика корпуса | 91 mm |
| Ca - Минимальный зазор | 4 mm |
| Cb - Минимальный зазор | 5,5 mm |
| ra max - Максимальный радиус галтели | 1,5 mm |
| r1a - Максимальный радиус галтели | 1,5 mm |

|
Бренд
|
ArtNC |
|
Сепаратор
|
стальной |
|
Уплотнение
|
без уплотнений (открытый) |
|
Зазор / преднатяг
|
CN - нормальный зазор |
|
Внутренний диаметр, мм
|
60 |
|
Наружный диаметр, мм
|
95 |
|
Ширина, мм
|
23 |
|
Вес, кг
|
0.59 |