Радиальный шарикоподшипник NTN-SNR предназначен для восприятия радиальных нагрузок и работы на высоких скоростях. Изготавливается из высококачественных материалов, что обеспечивает устойчивость к износу и коррозии. Отличается надёжностью, долговечностью, низким уровнем шума и энергоэффективностью.
Подшипник оснащён стальными пластинами с обеих сторон, что предотвращает попадание загрязнений и потери смазки, способствуя долговечности изделия. Может быть также предустановлен смазкой для упрощения эксплуатации.
Применяется в автомобилях, промышленном оборудовании и бытовых устройствах, соответствуя международным стандартам качества.
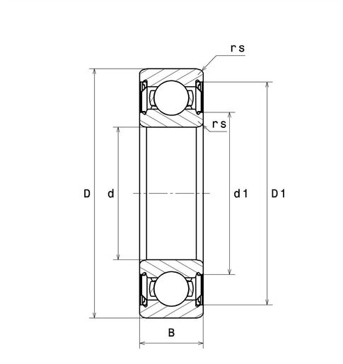
Размеры
- Внутренний диаметр: 90 мм;
- Наружный диаметр: 190 мм;
- Ширина подшипника/внутреннего кольца: 43 мм;
- Наружный диаметр внутреннего кольца: 112,2 мм;
- Внутренний диаметр наружного кольца: 167,7 мм;
- Минимальный радиус галтели: 3 мм;
- Класс радиального зазора: C3;
- Вес: 5,02 кг.
Производительность продукта
- Динамическая грузоподъёмность: 150 кН;
- Статическая грузоподъёмность: 107 кН;
- Предельная усталостная нагрузка: 4,1 кН;
- Коэффициент: 13.3;
- Базовая частота вращения: 5100 об./мин;
- Предельная частота вращения: 4700 об./мин;
- Мин. рабочая температура: -30 °C;
- Макс. рабочая температура: 120 °C.
Частоты подшипников
- Собственная частота наружного кольца (60 об/мин): 3,093 Hz;
- Собственная частота внутреннего кольца (60 об/мин): 4,907 Hz;
- Собственная частота сепаратора (60 об/мин): 0,387 Hz;
- Собственная частота беговых дорожек (60 об/мин): 4,183 Hz.
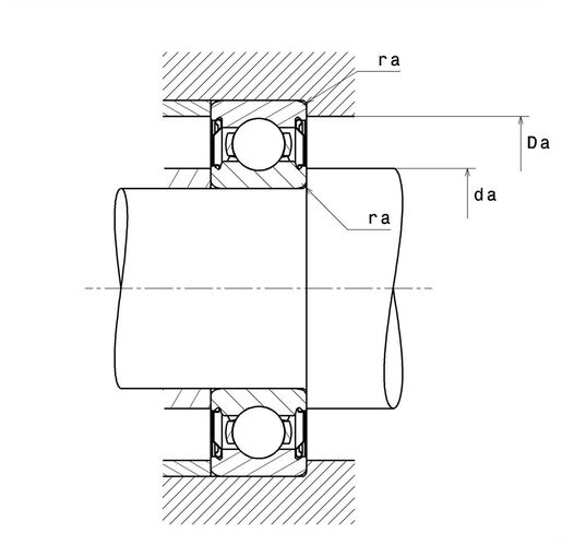
Размеры окружающих деталей
- Минимальный диаметр буртика вала: 103 мм;
- Максимальный диаметр буртика вала: 112,2 мм;
- Максимальный диаметр буртика корпуса: 177 мм;
- Максимальный радиус галтели вала и корпуса: 2,5 мм.
|
Бренд
|
SNR |
|
Сепаратор
|
стальной |
|
Уплотнение
|
стальные пластины с двух сторон |
|
Зазор / преднатяг
|
C3 - зазор больше нормального |
|
Внутренний диаметр, мм
|
90 |
|
Наружный диаметр, мм
|
190 |
|
Ширина, мм
|
43 |
|
Вес, кг
|
4.95 |