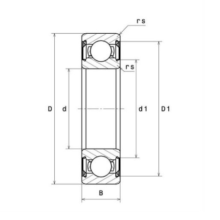
Размеры:
- внутренний диаметр (d): 5 мм;
- наружный диаметр (D): 19 мм;
- ширина подшипника/внутреннего кольца (B): 6 мм;
- наружный диаметр внутреннего кольца (d1): 9 мм;
- внутренний диаметр наружного кольца (D1): 16,7 мм;
- минимальный радиус галтели (rs): 0,3 мм;
- класс радиального зазора: CN;
- вес: 0,008 кг.
Производительность продукта:
- динамическая грузоподъёмность (C): 2,75 кН;
- статическая грузоподъёмность (C0): 0,9 кН;
- предельная усталостная нагрузка (Cu): 0,04 кН;
- коэффициент (f0): 10.5 кН;
- базовая частота вращения (N ref): 32000 об/мин;
- предельная частота вращения (N lim): 44000 об/мин;
- мин. рабочая температура (Tmin): -30 °C;
- макс. рабочая температура (Tmax): 120 °C.
Частоты подшипников:
- частота вращения по внешнему кольцу (60 об/мин) (BPFO): 2,558 Гц;
- частота вращения внутреннему кольцу (60 об/мин) (BPFI): 4,442 Гц;
- частота вращения тела качения (60 об/мин) (BSF): 3,445 Гц;
- частота вращения: качающийся элемент (BRF): 1,723 Гц;
- частота вращения сепаратора (60 об/мин) (FTF): 0,365 Гц.
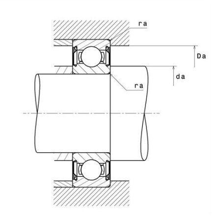
Размеры окружающих деталей:
- минимальный диаметр буртика вала (da min): 7 мм;
- максимальный диаметр буртика вала (da max): 9 мм;
- максимальный диаметр буртика корпуса (Da max): 17 мм;
- максимальный радиус галтели вала и корпуса (ra max): 0,3 мм.
|
Бренд
|
SNR |
|
Внутренний диаметр, мм
|
5 |
|
Наружный диаметр, мм
|
19 |
|
Ширина, мм
|
6 |