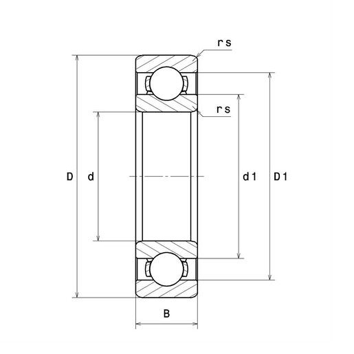
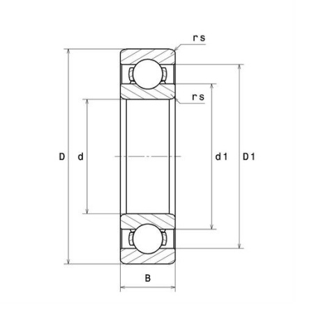
Размеры изделия:
- марка: NTN;
- внутренний диаметр (d): 220 мм;
- наружный диаметр (D): 270 мм;
- ширина подшипника/внутреннего кольца (B): 24 мм;
- минимальный радиус галтели (rs): 1,5 мм;
- класс радиального зазора: CN;
- вес: 3 кг.
Производительность продукта:
- динамическая грузоподъёмность (C): 84,5 кН;
- статическая грузоподъёмность (C0): 98 кН;
- предельная усталостная нагрузка (Cu): 4,15 кН;
- коэффициент (f0): 16 кН;
- предельная скорость при смазывании маслом (N lim): 2400 об/мин;
- предельная скорость при смазывании консистентной смазкой (N lim): 2100 об/мин;
- мин. рабочая температура (Tmin): -40 °C;
- макс. рабочая температура (Tmax): 120 °C.
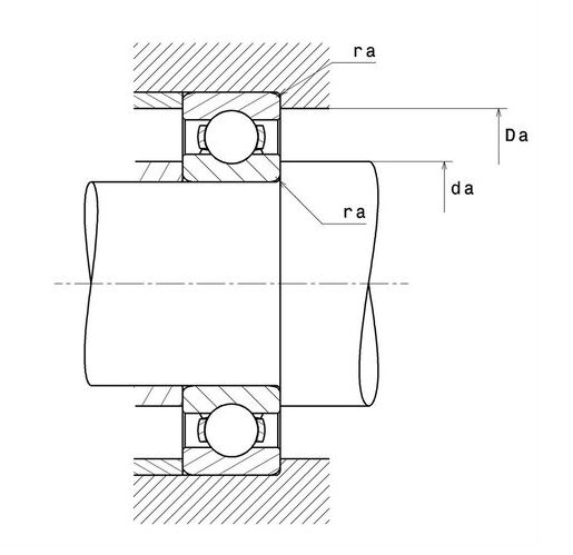
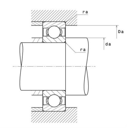
Размеры окружающих деталей:
- минимальный диаметр буртика вала (da min): 228 мм;
- максимальный диаметр буртика корпуса (Da max): 262 мм;
- максимальный радиус галтели вала и корпуса (ra max): 1,5 мм.
|
Бренд
|
NTN |
|
Сепаратор
|
стальной |
|
Уплотнение
|
без уплотнений (открытый) |
|
Зазор / преднатяг
|
CN - нормальный зазор |
|
Внутренний диаметр, мм
|
220 |
|
Наружный диаметр, мм
|
270 |
|
Ширина, мм
|
24 |